I know there’s over a million patents involved but I should start at least documenting some of them on the one page instead of spread-out throughout the blog – it would take decades to locate & record all the nefarious patents considering how big this octopus is and how much we’ve been lied to… maybe this collection will help someone else who is already looking. I also have several folders of suspicious patents on Mega.
Living document. First published June 1, 2022. Last Updated December 30, 2022

- See also “What’s in the Vials?“
- See also “Time For The Truth On The Presence Of Graphene In The Shots“
References/Footnotes:
- Mik Anderson analyses the Graphene Oxide Patents ↥
- Patent Analysis by Mik Andersen “Recombinant nanocoronavirus vaccine that takes graphene oxide as a carrier” ↥
- 崔大祥;高昂;梁辉;田静;李雪玲;沈琦. (2020). [Patent CN112220919A]. Nanocoronavirus recombinant vaccine taking graphene oxide as carrier. https://patents.google.com/patent/CN112220919A/en ↥
- Graphene oxide in physiological serums: scope for public health – Analysis ↥
- 김한식. (2020). [Patent KR20210028062A]. Physiological Saline Containing Graphene. https://patents.google.com/patent/KR20210028062A/en ↥
- Graphene patents for fertilizers and phytosanitary products: Part 1. Pseudomonas aeruginosa – Analysis ↥
- Losic, D.; Kabiri, S.; McLaughlin, M.; Tran, D.; Andelkovic, I. (2021). [Patent WO2018107212A1]. Graphene for fertilizer applications = Graphene for fertilizer applications. https://patents.google.com/patent/WO2018107212A1/en | https://patentscope.wipo.int/search/en/detail.jsf?docId=WO2018107212 ↥
- Graphene patents for fertilizers and phytosanitary products: Part 2 Confirmation of the hypothesis ↥
- China grants country’s first COVID-19 vaccine patent to CanSino: state media – Reuters↥
- Nano coronavirus recombinant vaccine taking graphene oxide as carrier – Patent CN112220919A↥
- Preparation and application of pachyman nano adjuvant based on graphene oxide and adjuvant/antigen co-delivery vaccine – Patent CN112089834A↥
- Food packaging with graphene oxide. Patents and studies ↥
- US20200279585A1 – Google Patents – Web – System and Method for Testing for COVID-19 https://patents.google.com/patent/US20200279585A1/ ↥
- US 2020/0279585 A1 – Google Patents – PDF – System and Method for Testing for COVID-19 – Richard A. Rothschild https://patentimages.storage.googleapis.com/61/a3/0d/3d91325d909386/US20200279585A1.pdf ↥
- Fact check: Rothschild did not patent a test for COVID-19 in 2015 and 2017 https://www.reuters.com/article/uk-factcheck-patent-idUSKBN27C34O ↥
- Rothschild Archive Website https://www.rothschildarchive.org/collections/treasure_of_the_month/february_2019_telegraphic_code_books_south_american_business_1909_1938 ↥
- PubChem [Internet]. Bethesda (MD): National Library of Medicine (US), National Center for Biotechnology Information; 2004-. PubChem Patent Summary for US-10829770-B2; [cited 2022 Nov. 6]. Available from: https://pubchem.ncbi.nlm.nih.gov/patent/US-10829770-B2 ↥
- Joshua Philipp: US Government’s Patent Application for Luciferase Fusion Proteins Should Sound Alarm Bells https://news.ntd.com/joshua-philipp-us-governments-patent-application-for-luciferase-fusion-proteins-should-sound-alarm-bells_843235.html | Rumble | Telegram ↥
- US Patent US20190060458A1 | Delivery and formulation of engineered nucleic acids https://patents.google.com/patent/US20190060458A1/en ↥
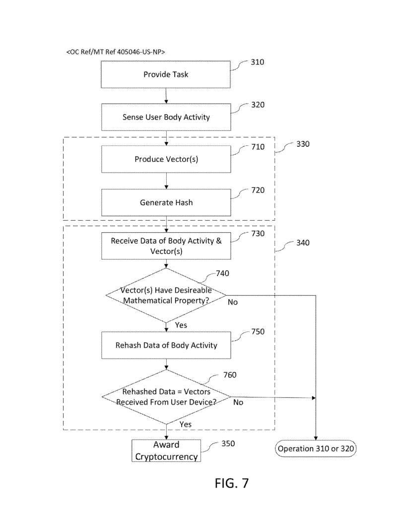
- WO/2020/060606 CRYPTOCURRENCY SYSTEM USING BODY ACTIVITY DATA https://patentscope.wipo.int/search/en/detail.jsf?docId=WO2020060606 ↥
- Microsoft Patents New Cryptocurrency System Using Body Activity Data – Bitcoin Article https://news.bitcoin.com/microsoft-cryptocurrency-system/ ↥
- H.R.6666 – COVID–19 Testing, Reaching, And Contacting Everyone (TRACE) Act 116th Congress (2019-2020) https://www.congress.gov/bill/116th-congress/house-bill/6666/text https://www.govtrack.us/congress/bills/116/hr6666 ↥
- PubChem – Coronavirus – summarizes information in PubChem about patent US-10130701-B2 https://pubchem.ncbi.nlm.nih.gov/patent/US-10130701-B2 ↥
- US10130701B2 – Coronavirus – Google Patents https://patents.google.com/patent/US10130701B2/en ↥
- 24 Jan 2020 Pirbright’s response to the “conspiracy theories” surrounding their coronavirus research https://www.pirbright.ac.uk/news/2020/01/pirbright%E2%80%99s-livestock-coronavirus-research-%E2%80%93-your-questions-answered ↥
- Lieber, Charles 66 patents which are being used as scaffolds and wires and nanosensors and semiconductors in all vaccines as described here: https://patft.uspto.gov/netacgi/nph-Parser?Sect1=PTO2&Sect2=HITOFF&p=1&u=%2Fnetahtml%2FPTO%2Fsearch-bool.html&r=0&f=S&l=50&TERM1=%22Lieber%2C+Charles%22&FIELD1=INNM&co1=AND&TERM2=&FIELD2=&d=PTT ↥
- Justice.gov link to arrest of Charles Lieber (01-28-2020) https://www.justice.gov/opa/pr/harvard-university-professor-and-two-chinese-nationals-charged-three-separate-china-related ↥
- Justice.gov link to indictment of Charles Lieber (06-09-2020) https://www.justice.gov/opa/pr/harvard-university-professor-indicted-false-statement-charges ↥
- Patent US 7,858,965 – Nanowire Heterostructures https://patents.google.com/patent/US7858965B2/en – Charles Lieber ↥
- Harvard Magazine Jan-Feb 2011 https://www.harvardmagazine.com/2011/01/virus-sized-transistors ↥
- US7956427B2 – US Patent 7,956,427 – Nanosensors | US7911009B2 – US Patent 7,911,009 | US7619290B2 – US Patent 7,619,290 ↥
- US9702849B2 – US Patent 9,702,849 – Nanopore sensing by local electrical potential measurement ↥
- US10436747B2 – US Patent 10,436,747 – Nanopore sensing by local electrical potential measurement ↥
- US10369255B2 – US Patent 10,369,255 – Scaffolds comprising nanoelectronic components for cells, tissues, and other applications | US10355229B2 – US Patent 10,355,229 | US9786850B2 – US Patent 9,786,850 ↥
- US9638717B2 – US Patent 9,638,717 – Nanoscale sensors for intracellular and other applications ↥
- US9595685B2 – US Patent 9,595,685 – Nanoscale wires, nanoscale wire FET devices, and nanotube-electronic hybrid devices for sensing and other applications ↥
- US9457128B2 – US Patent 9,457,128 – Scaffolds comprising nanoelectronic components for cells, tissues, and other applications ↥
- US6716409B2 – US Patent 6,716,409 – Fabrication of nanotube microscopy tips ↥
- US10786570B2 – Ferritin nanoparticle compositions and methods to modulate cell activity – Rockefeller University | Download PDF ↥
- National Institute of Health’s grant AI23946-08, issued to Dr. Ralph Baric, funded by NIAID (Dr Anthony Fauci) ↥
- The Fauci/COVID-19 Dossier (PDF) ↥
- Fauci’s involvement in Corona Following The Patents: Covid-19 & Medical Tyranny (6 Feb 2022) ↥
- NIH-Funded “Remote Control of Cells using Magnetic Field – WO2016049031A1 – Compositions and methods to modulate cell activity | Download PDF ↥
- DARPA’s fascinating self-healing body initiative – ElectRx – Article – 20 Apr 2021 http://tisfightback.com/darpas-fascinating-self-healing-body-initiative-electrx ↥
- DARPA – Electrical Prescriptions (ElectRx) – https://www.darpa.mil/program/electrical-prescriptions ↥
- DARPA – first seven grants under the ElectRx program. https://www.darpa.mil/news-events/2015-10-05 ↥
- The Vagus Nerve: A Back Door for Brain Hacking – 29 May 2015 – https://spectrum.ieee.org/the-vagus-nerve-a-back-door-for-brain-hacking ↥
- Military magnetic field breakthrough could lead to mind reading computers and Harry Potter ‘wands’ to check for head injuries – https://www.dailymail.co.uk/sciencetech/article-4332848/DARPA-reveals-animal-magnetism-breakthrough.html ↥
- Karen Kingston – Biotech Analyst – PDF Presentation – Vaccine Patents ↥↥
- Nervous system manipulation by electromagnetic fields from monitors US Patent US6506148B2 ↥
- US Patent US6506148B2 This Patent Proves They Can Remotely Hijack Your Nervous System – Video – June 5, 2021 – 13 mins ↥
- US5899922A Manipulation of nervous systems by electric fields ↥
- US6167304A Pulse variability in electric field manipulation of nervous systems ↥
- US6081744A Electric fringe field generator for manipulating nervous systems ↥
- US5935054A Magnetic excitation of sensory resonances ↥
- US5800481A Thermal excitation of sensory resonances ↥
- US6091994A Pulsative manipulation of nervous systems ↥
- US6017302A Subliminal acoustic manipulation of nervous systems ↥↥
- US6238333B1 Remote magnetic manipulation of nervous systems ↥
- Toxic Mosquito Aerial Release System (Patent: US8967029B1) https://patents.google.com/patent/US8967029 ↥
- PFN/TRAC system TM FAA upgrades for accountable remote and robotics control to stop the unauthorized use of aircraft and to improve equipment management and public safety in transportation. (Patent – US20050187677A1) https://patents.google.com/patent/US20050187677A1/en | PDF https://www.fbcoverup.com/docs/library/2005-11-15-US-Pat-No-6965816-PFN-TRAC-SYSTEM-FAA-UPGRADES-RE-AIRCRAFT-ET-AL-Walker-Nov-15-2005.pdf ↥
- Nanotechnology Responses to COVID-19 03 September 2020 https://doi.org/10.1002/adhm.202000979 ↥
- Front. Bioeng. Biotechnol., 13 June 2022 Sec. Nanobiotechnology https://doi.org/10.3389/fbioe.2022.916165 ↥
- Long Circulating Nanoparticles for Sustained Release of Therapeutic Agents – US PATENT – US20100216804A1 ↥
- Docetaxel – Chemocare.com – Drug Info ↥
- ‘Moderna’s Pledge Not to Enforce the Patents on Their COVID-19 Vaccine Is Worthless‘ – JacobinMag.com – April 2021 ↥
- The Director-General of the WHO has publicly supported the proposal before the World Trade Organization (WTO) that would temporarily waive some IP rights under the Agreement on Trade-Related Aspects of Intellectual Property Rights (TRIPS) until “widespread vaccination is in place globally.” However, Pfizer, AstraZeneca, GSK, Johnson & Johnson, Gilead, Merck along with other companies and the Pharmaceutical Research and Manufacturers of America (PhRMA) wrote to President Biden in early March 2021 urging the US administration to continue “to oppose the TRIPS IP waiver.” ↥
- Biotechnology Innovation Organization’s submission to the Office of the US Trade Representative arguing against sharing vaccine patents or the technological know-how on what’s needed to manufacture them – Jan 29, 2021 ↥
- A 63-page document containing Q&A responses from Human Rights Watch to Pfizer, Moderna, and Johnson & Johnson ↥
Site Notifications/Chat:
- Telegram Post Updates @JourneyToABetterLife (channel)
- Telegram Chatroom @JourneyBetterLifeCHAT (say hi / share info)
Videos:

























